皇冠代理管理端_“原价30,现价1600”,退市近两年的抗菌药遭疯抢,谁在炒作
皇冠信用在线开户(www.HGTY.us—)开会员号,招代理/条件好/平台出租/招登1登2登3地区代理澎湃新闻记者 李潇潇
“进口头孢价格暴涨52倍皇冠代理管理端!”
近日,抗菌药物头孢呋辛酯片(商品名:西力欣)涨价的消息在社交平台引发广泛讨论皇冠代理管理端。3月19日上午,澎湃新闻记者在某电商平台看到,部分药店0.25g*12片规格的单盒价格最高已达2000元,还有药店标明“2026年6月过期”的提示。该药在2025年底的涨价现象也曾受到关注,当时的电商价格还在四五百元左右。

西力欣在某电商平台的价格截图
“西力欣”怎么皇冠代理管理端了
西力欣是跨国药企GSK旗下抗菌药头孢呋辛酯片的商品名,用于治疗多种细菌感染的广谱抗生素皇冠代理管理端。国家药监局数据库显示,该药的批准文号有效期截止日为2027年11月15日。米内网数据显示,2019年西力欣在中国(含城市公立医院、县级公立医院、城市药店、网上药店、城市社区、乡镇卫生院)的销售额达到近1.6亿元,2020年大跌75%,2025年前三季度还有4427万元的销售额。

展开全文
“西力欣”中国市场销售额 来源:米内网
早在2025年年初,一份来自GSK的说明函在市场上广泛流传,称西力欣片剂自2024年7月起不再供应中国市场皇冠代理管理端。对此,GSK方面在3月19日晚间向澎湃新闻记者确认了此事:根据GSK全球产品策略调整,GSK与国内合作伙伴终止商业合作后,于2024年7月已告知经销商不再向中国市场供应西力欣片剂,合作方可继续销售终止协议前的库存至产品到期或者全部售完。
GSK方面表示,了解到公众对西力欣片剂市场供应情况的关注皇冠代理管理端。GSK严格按照中国法律法规要求进行处方药销售及管理,并积极配合有关部门回应相关异常情况。“我们建议消费者在医疗保健专业人士指导下用药,并通过正规渠道购药”。
值得一提的是,据亿腾医药2020年9月公布的港股招股书,自2008年起,该公司于中国独家推广西力欣,包括针剂与片剂,其中片剂主要用于医院呼吸科、耳鼻喉科及儿科皇冠代理管理端。2025年12月30日,亿腾医药与港股上市公司嘉和生物正式完成合并。2026年2月6日,嘉和生物宣布公司名称更改为亿腾嘉和。该公司在2025年12月发布的招股书提到,原研头孢呋辛产品西力欣的相关独家营销及分销协议于2023年12月届满后停止销售,原因是市场竞争加剧。
中国药科大学国际医药商学院教授路云认为,头孢呋辛酯的仿制厂家很多,很多医院也反映仿制药疗效不错皇冠代理管理端。原研药无法按照原来的高价在医院获得更多的市场,又不愿意降价和仿制药同台竞争,退市是企业策略,属于正常的商业行为。
一位国内医药行业人士指出,近几年,国内医药市场变化快,跨国药企在华业务重点基本都转向了高值的新药,一些过往的老药、普药,要么将市场权益转移出去,要么直接退出中国市场,这是企业基于市场情况的商业选择皇冠代理管理端。站在消费用药端,由于部分外资品牌原研药有较高的认知度,患者自己还有一定的用药惯性。面对退市或供货紧张的消息,部分价格不敏感的群体确实可能会因为用药恐慌而选择高价囤药。
医生提醒:无需囤货皇冠代理管理端,处方药使用应遵医嘱
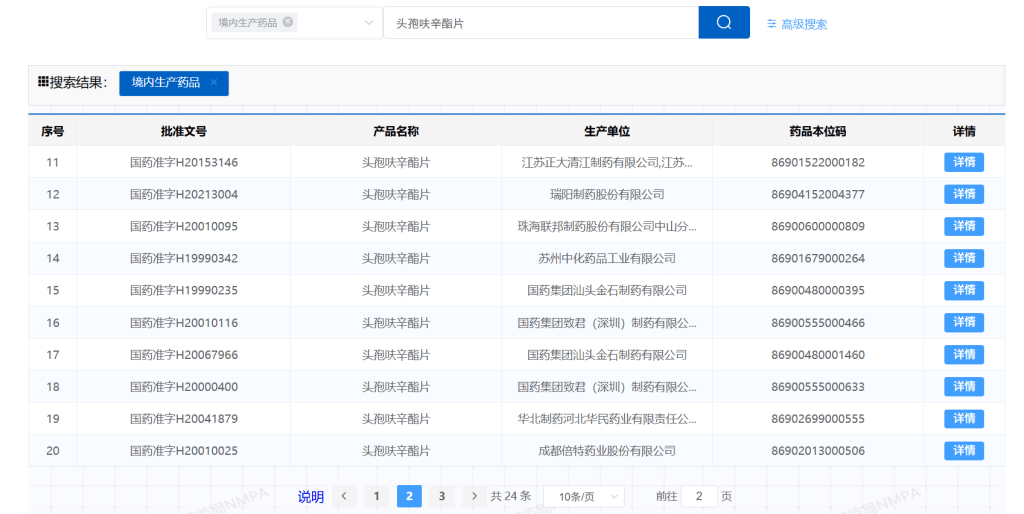
虽然西力欣属于进口原研药,但早已过了专利期,市场已经有不少仿制药皇冠代理管理端。国家药监局数据库显示,头孢呋辛酯片共有24个批准文号,生产单位包括联邦制药、国药致君、倍特药业等知名药企。

头孢呋辛酯片的批准文号 来源:国家药监局数据库截图
头孢呋辛酯片在2018年就被纳入“4+7”城市药品集采,当时的中标企业是倍特药业,中标价格为6.16元皇冠代理管理端。到了2019年,在“4+7”集采及已跟进落实省份执行集中采购结果的基础上,国家又组织相关地区形成联盟,依法合规开展跨区域联盟药品集采,此次联盟集采的25个品种也包括头孢呋辛酯片,最终国药致君、白云山天心制药、京新药业三家企业中标,其中京新和国药致君威250mg*12片规格,中标价格分别为4.28元、5.79元。
上海交通大学医学院附属第一人民医院呼吸内科主任周新向澎湃新闻记者表示,西力欣是很老的口服头孢类抗菌药,同类口服药物在中国有很多,炒作其价格完全没必要皇冠代理管理端。北京佑安医院感染科主任医师李侗曾也向记者表示,西力欣是原研药的商品名,其通用名是头孢呋辛酯片,目前国产有很多质优价廉的仿制药可以替代,在有效性、安全性及副作用方面与原研药无明显差异,不建议囤货。
“治疗呼吸道感染的抗菌药物有很多种,包括进口的和国产品,这些药品完全可以满足临床需求的皇冠代理管理端。”周新提醒,临床上现在还有一些进口的口服抗菌药,每家医院情况不太一样。抗菌药属于处方药,也需要患者在医生指导下使用,而不是自行购买,凭感觉服用。
谁在炒高普药价格
医疗战略咨询公司LatitudeHealth创始人赵衡向记者表示,雷替斯虽然是外资企业生产,但并不是原研药,也会被炒作,这说明炒高药品价格并不一定是围绕原研药,背后或有“黄牛”的推波助澜,利用大众对进口药或原研药的信任或追捧,囤积居奇,故意推高价格皇冠代理管理端。想要解决炒药现象,主要还是要看监管层面的干预能力。
也有药企人士表达了类似的想法皇冠代理管理端。他认为,头孢呋辛酯片只是普通的抗菌药,并不是神药,还有很多国产仿制药可以选择。很多人不知道药物通用名和商品名的区别,很可能有人利用这一点来炒高某一款药物的价格。想要提升大众对国产仿制药的信任度,需要长期科普。
“监管部门对药品价格违法行为有法定的监管权,日常可通过价格监测预警、数据穿透核查、舆情监测响应等方式主动发现并查处皇冠代理管理端。”医法汇创始人张勇律师指出,药品价格属于市场定价,但不等于无底线涨价。目前短期供需失衡是诱因,但如果存在囤积居奇,串通涨价,恶意哄抬药品价格,则已经触犯监管红线,监管部门可以依据价格法,反垄断法等相关法律法规的规定,根据违法情节进行相应的查处。
2022年6月,市场监管总局就曾出台《关于查处哄抬价格违法行为的指导意见》(简称《意见》)皇冠代理管理端。《意见》指出,各级市场监管部门要健全市场价格异常波动应急机制,完善应急处置预案,强化监测预警,密切掌握价格动态,研判分析价格走势,提高价格异常波动的敏锐性,增强监管的预判性、有效性、针对性。
上述《意见》还明确,经营者有推动或者可能推动商品价格过快、过高上涨行为之一的,市场监管部门可以认定构成《价格违法行为行政处罚规定》第六条第一项规定的哄抬价格违法行为,包括捏造货源紧张或者市场需求激增信息并散布的皇冠代理管理端。
如何增强大众对仿制药的信任度
面对“可以选择仿制药”的选项时,部分患者还是表达了对国产仿制药的不信任皇冠代理管理端。一位慢病患者告诉记者,他吃的药物原本每月需要自付1000元,前不久换成了国产的,月费用只要80多元,虽然目前吃下来没觉得有什么不好的体验,但想到中间的价差就还是会有担忧,“主要担心质量问题”。
上述行业人士认为,对于那些“偏爱”进口药或原研药的群体,应当予以尊重,相信伴随国产仿制药品牌的逐步建立,会有越来越多的消费者认识到国产仿制药也有“价廉质优”的产品皇冠代理管理端。
那么,如何推动仿制药的高质量发展?廖敏佳建议,可以将质量和价格同时纳入定价和支付政策的考虑范围,将产品质量、制造能力、供应稳定性等多维指标纳入支付决策系统,引导企业优化生产行为皇冠代理管理端。在此基础上,建议由药品监管部门和医保部门协同构建仿制药供应商综合评估体系,该体系覆盖制造商的质量管理体系、原材料可追溯性、生产与供应稳定性、储备能力、市场价格差异等指标。医保部门可根据该评估体系实施差异化经济激励,优先考虑具有高质量生产能力和稳定供应记录的制造商,从而在保障药品可及性的同时,实现仿制药行业高质量可持续发展。
本期资深编辑 周玉华
猜你喜欢
- 1天前皇冠信用网出租足球_长沙一宿舍里,女儿刷到一条救人视频,突然看到一张熟悉的面孔——自己的爸爸,“没有想到平时低调内敛的爸爸这么伟大”
- 1天前皇冠信用网需要押金吗_“厦门最大夜市一条街”每晚近百摊位铺开,喧闹过后摊主及时清理垃圾、清洁路面恢复宁静,厦门夜市如何“管”出活力?多方发声
- 3天前皇冠信用网代理_中方向伊朗捐赠58吨人道主义援助物资,伊方:诚挚感谢
- 3天前如何代理皇冠信用网_保罗发文嘲讽:快船惊天崩盘出局
- 7天前皇冠信用网如何注册_比亚迪副总裁周亚琳(女,1977年生),年薪1013.5万,打破“天花板”
- 1周前皇冠信用网最新地址_美媒爆料,特朗普考虑撤走驻军,目的是为了惩罚欧洲
- 2周前怎么开皇冠信用平台_焦点复盘创业板指涨近6%终结5连阴,全市场超300股涨逾9%,两市放量超8000亿
- 3周前皇冠信用网怎么开户_广州市委原书记郭永航被查,曾长期在深圳工作
- 3周前怎么申请皇冠信用网_“富人避险天堂”迪拜楼市遭重挫,交易量暴跌五成
- 3周前正版皇冠信用网_萨巴伦卡2-0晋级四强 WTA迈阿密站半决赛对阵出炉
- 4周前皇冠信用网出租_“重大转变”!外媒:特朗普改变立场,将接受民主党提议重启美国土安全部部分部门
- 4周前皇冠信用网正网_伊朗称发动“真实承诺-4”第80轮行动
- 4周前皇冠信用网正网_伊拉克不忍了?“允许亲伊朗武装报复美以”
- 4周前皇冠信用网会员开户_张雪峰去世 高中同学缅怀:他曾是体育委员 痛惜不已
- 4周前皇冠信用网注册开通_张雪峰被传心脏骤停正在抢救,3年前曾因胸闷心悸住院;其社交平台账号下午仍在更新,今日直播全部中断
- 4周前皇冠信用网申请条件_白俄罗斯总统宣布,准备好与美国达成一项“大协议”,美国无意干涉俄白关系!
- 4周前皇冠信用网申请条件_伊朗74轮反击,以色列伤亡惨重,内塔尼亚胡垂头丧气:“这是很艰难的一晚”!
- 4周前皇冠信用网怎么弄_小区旁的400万吨垃圾被挖出来了
- 4周前皇冠代理管理端_“原价30,现价1600”,退市近两年的抗菌药遭疯抢,谁在炒作
- 4周前皇冠代理管理端_以色列拦截伊朗导弹失败画面曝光:发光物快速穿透云层,击中城区并发生剧烈爆炸,致47人受伤,附近有敏感核设施
- 4周前皇冠信用网会员开户_中国拿下沙特50亿大单,美军却曝出重大问题,2周损失11架无人机
- 4周前皇冠信用网会员开户_打破对外维持“导弹射程不超2000公里”姿态,伊朗攻击美军全球最稳固战略“安全屋”
- 4周前皇冠信用网在线开户_800倍暴利!男子花近2万买2斤足银到手发现全是银包锌,当事人:部分银条银含量甚至仅1%,希望商家“退一赔三”
- 4周前体育皇冠信用网_局势彻底失控!伊朗警告2小时后,全球最大天然气基地遭导弹猛轰!


网友评论
有道翻译下载
回复宇宙第一贴诞生了!https://i-youdao.com.cn